WFD (Widespread Fatigue Damage) (Eastin, 2009) involves the simultaneous presence of multiple cracks, at multiple locations, that are of sufficient sizes and density. And then in case the tensile fatigue load is applied to the structure with WFD, the structure will no longer meet the residual strength requirement. Many research activities for multiple fatigue cracks have been conducted (Muller, 1995; Terada et al., 2001; Bakuckas, 2002; Li et al., 2017), because the prediction of those crack growth is impractical using deterministic linear elastic fracture mechanics. Current requirement and guidance material in CFR (Code of Federal Regulation) are described in rules by the Federal Aviation Administration (FAA, 2010; FAA, 2011). For type certification of transport category aircraft, the possibility of the WFD to the metal structure under tensile fatigue loading has to be evaluated.
Same as the aircraft structure using metallic material, the hybrid joint composed of a metal and composite material also have to be evaluated for the susceptibility of the WFD, in case its metal part carries the fatigue load. Because the thermal expansion is different between the metal and the composite material, evaluation of WFD susceptibility has to be based on not only the external load but also the thermal load caused by the thermal experience during operation. In addition, the effect of thermal load has to be included in the evaluation of the corresponding LOV. Because the test speed of the thermal load is enough slow comparing to the external load, the period for WFD evaluation under thermal load seems to be time consuming comparing to that under external load. TAMCSWG (Transport Airplane Metallic and Composite Structures Working Group) under TAE (Transport Airplane and Engine) Subcommittee proposed recommendations to apply the analysis supported by test evidence to WFD evaluation of hybrid joint (Transport Airplane Metallic and Composite Structures Working Group, 2018).
JAXA have been conducted the research to evaluate the fatigue life up to form a fatigue crack at certain size in a CFRP/Aluminum hybrid joint. JAXA presented the experimental and numerical results for hybrid joint under thermal cycles at ICAF2023 (Okada et al., 2023).
In this paper, the cyclic thermal and external loads are simultaneously applied to the CFRP/Aluminum hybrid joint, and stress and strain on the Aluminum plate are evaluated experimentally and numerically. The numerical result suggests that the top row of the Aluminum plate which transfers the external load occurs higher stress and strain and would become the fatigue fracture origin.
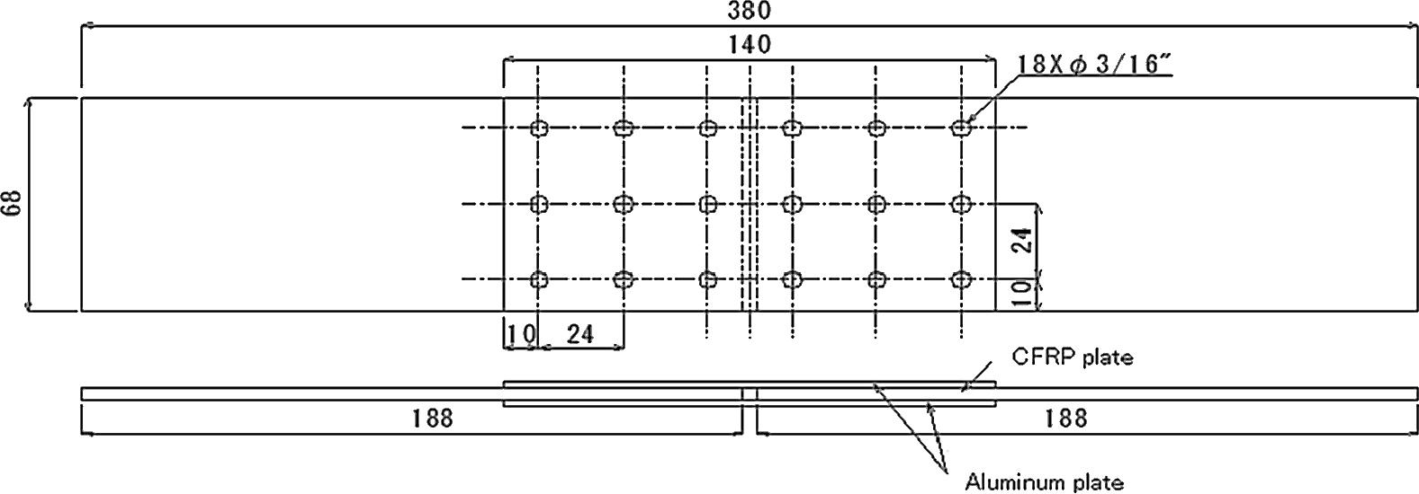
The fatigue life of the hybrid joint is evaluated under an external load in a constant temperature environment. The specimen shape is shown in Figure 1. The test specimen is a double-lap hybrid joint with 3 rows and 3 columns. The width of the test specimen is 68 mm, and the total length of the test specimen is 380 mm. Prepreg used for CFRP is Toray T800S/3900-2B and stacking sequence is [45/0/-45/90]3s. Thickness of the CFRP and 2024-T3 Aluminium plates are 4.56 mm and 2 mm, respectively. The dimension of the fastener hole is between 4.826 and 4.902 mm (0.190 and 0.193 inch). The Hi-Lite fasteners composed of HST10-6-6 pin and HST79CY6 collar are used. The fastening torque is set between 2.83 and 3.96 Nm (25 and 35 inch-pound) which is recommended by supplier. In order to measure the strain behaviour of the Aluminium plates, 20 triaxial gauges (Tokyo Sokki FRAB-2-11-3LJBT-F) are attached within the joint (Fig. 2). Hydraulic fatigue test equipment 8802 (250 kN), manufactured by Instron, is used for the test. Two types of temperature environment, 25 and 85 degrees Celsius are applied. The loading rate is set to 1.0 Hz. The setup of the test specimen is shown in Fig. 3.

Geometry of hybrid specimen.

Strain gauge location on hybrid specimen.

Test setup.
The ultimate goal of this research is to develop a method for predicting the fatigue life at which a first fatigue crack reaches 0.5 mm. The life is shorter than the LOV for the hybrid joint. However, it is not easy to determine the life when the fatigue crack reaches 0.5 mm from the fracture surface observation in a conventional fatigue test. Therefore, in order to facilitate the observation of the fracture surface, a marker band waveform is used as part of the test waveform. The main waveform composes of a maximum load of 47 kN and a stress ratio of 0.1. The marker band waveform alternated between a waveform with a maximum load 0.8 times that of the main waveform, a stress ratio of 0.1, and 100 cycles, and a waveform with a maximum load 1.0 times that of the main waveform, a stress ratio of 0.1, and 10 cycles, six times and five times, respectively. The main waveform is loaded for 8,000 cycles between the marker band waveforms. A schematic diagram of the marker band waveform is shown in Fig. 4.

Schematic diagram of marker band waveform.
A hybrid joint with the same shape as shown in the above section is subjected to repeated loading with thermal and external loads, and the strain behavior is evaluated. The load profile of thermal and external loads is shown in Table 1. Temperature change of the chamber is only controlled during the tests and therefore the temperature of the specimen is monitored whether its temperature reaches to the required value. Because of the ability of the environmental chamber, the duration from 85 degrees Celsius to -55 degrees Celsius is 330 minutes, while that from -55 degrees Celsius to 85 degrees Celsius is 140 minutes in this test. The load applied to the specimen changes linearly during the above period. In Okada et al. 2023, JAXA shows that when the CFRP/Aluminum hybrid joint with same fastener configuration is repeatedly subjected to thermal loads, the strain behavior from the second cycle onwards is almost the same. For this reason, the number of cycles is set to three in this test. To measure the temperature of the specimen, a K-type thermocouples are attached to several points of the specimen.
Test profile.
| Initial | Step 1 | Step 2 | Step 3 | |
|---|---|---|---|---|
| Temperature (degrees Celsius) | 25 | 85 | -55 | 85 |
| Load (kN) | 0 | 0 | 47 | 0 |
The strain and stress behavior of the hybrid joint when it is subjected to repeated loads coupled with heat and external load are evaluated by FEM analysis. In order to evaluate the effect of external load change and temperature change on stress and strain in the specimen shown in Fig. 1, a quarter of the specimen is modelled. Origin of the coordinate is located at the middle of the specimen and x, y and z directions correspond to directions along loading side, short side and through the thickness direction, respectively. The x and y axes are the axes of symmetry in this case.
The commercial FFM software, ABAQUS 2023, is employed for the numerical simulation. The element C3D8 (8 nodes and 6 surfaces) is used in the FEM model. In this model, the pin and the collar are modelled as one part. The boundary between fasteners, Aluminium plates and CFRP plates are modelled as contact surfaces and the coefficient of friction is set to 0.2 for all of contact surfaces. The average dimension is applied to the shank of the fastener and the hole diameter. Fastening force is set to 3559 N (800 lbs) based on the supplier datasheet. And the load is applied to the fastener at the beginning of the analysis as pre-defined load. In order to simulate restraint by a hydraulic grip, the CFRP surface within a range of 60 mm from the CFRP end is restrained from displacement in the plate thickness direction. An external load is applied uniformly to the entire CFRP end. The developed FEM model is shown in Fig. 5.

FEM model.
The CFRP plate is treated as the homogeneous orthotropic elastic body because the stacking sequence of the plate is quasi-isotropic. Aluminium plate, and the pin and the collar made by Titanium alloy are treated as the elastic body. The temperature dependence to the material properties is considered in this model. The material property of the unidirectional CFRP for each temperature is based on the data (Seki et al., 2017; Morimoto et al., 2018), and the material properties of the quasi-isotropic CFRP are calculated using the material properties of the unidirectional CFRP. The coefficient of thermal expansion of the unidirectional CFRP is based on the data (Seki et al., 2017) and that of quasi-isotropic CFRP is calculated. The material properties in MMPDS (Battelle Memorial Institute, 2015) are used for those of Aluminium alloy and Titanium alloy.
A photograph of the test specimens after the fatigue test is shown in Fig. 6. As can be seen from the figure, in all test specimens, fracture occurs in the top row of Aluminum plates, where the stress around the fastener holes is thought to be the highest. And it is found that when viewed in the width direction of the plate, the fracture surface around the central fastener hole had a larger area perpendicular to the load direction, and it is believed that fatigue failure had occurred in these areas. In addition, when comparing the Aluminum plates on the manufacturer head side and collar side of the fracture surfaces of all test specimens, it is confirmed that gaps had formed between the Aluminum plate on the manufacturer head side and the CFRP (Fig. 7). On the other hand, there is almost no gap between the Aluminum plate on the collar side and the CFRP. Therefore, it is considered that a larger load was applied to the Aluminum plate on the manufacturer head side than to the Aluminum plate on the collar side. This indicates that the fatigue crack first formed and propagated in the Aluminum plate on the collar side, and the Aluminum plate on the manufacturer head side is subjected to a larger load after cross section of Aluminum plate on collar side decreases. For this reason, it is considered that the initial formation and propagation of the fatigue crack occurs in the Aluminum plate on the collar side.

Test specimen after fatigue test. (Left: 25 degrees Celsius, Middel and Right: 85 degrees Celsius)

Fracture surface of test specimen. (Top: 25 degrees Celsius, Middel and Bottom: 85 degrees Celsius)
The test results are shown in Table 2. Although a statistical evaluation is not possible due to the small number of test specimens, the specimens at 85 degrees Celsius break after approximately 140,000 cycles, while the fatigue test specimen at 25 degrees Celsius breaks after approximately 200,000 cycles. At ICAF2023, the results of strain measurements and FEM analysis when a hybrid joint was subjected to thermal cycles were reported. When the hybrid joint was placed in an environment of 85 degrees Celsius, the Aluminum plate showed convex deformation in the out-of-plane direction. The FEM analysis showed that tensile strain and stress occurred in the longitudinal direction (x direction) of the test specimen at the fastener hole of the Aluminum plate on the mating surface with the CFRP. Those stress and strain at 85 degrees Celsius were larger than those at -55 degrees Celsius and therefore higher temperature induces larger tensile stress and strain at there when the external load was not applied. It means that during the external load was applied repeatedly, the average stress and strain at fastener hole are larger in case the test temperature is higher and this might affect the fatigue life.
Test results.
| Test temperature (degrees Celsius) | Total cycles | Initial cycles | No. of MB |
|---|---|---|---|
| 25 | 209,995 | 200,000 | 1 |
| 85 | 141,107 | 141,107 | 0 |
| 85 | 136,924 | 130,000 | 2 |
Figure 8 shows the test results for SG-3 which is attached near the fracture location. The vertical axis shows the total strain. The diagram on the left shows the specimen temperature on the horizontal axis, and the diagram on the right shows the external load on the horizontal axis. The figure shows that the axial strain continues to increase even after the external load reaches the maximum value of 47 kN. When the external load is 47 kN, the temperature is -55 degrees Celsius. And then the temperature rises as the external load decreases. The temperature rises rapidly comparing to the load change in this test condition. Therefore, the obtained total strain increases, even after the external load reaches the maximum value.

Strain at SG-3 during repeated loading by coupling thermal and external loads. (Left: total strain vs test temperature, Right: total strain vs external load)
Figure 9 shows the behavior of elastic strain which is obtained from the following equation:

Elastic strain behavior at SG-3 during repeated loading by coupling thermal and external loads.
As shown in Fig. 10, the hysteresis loop is extremely small, when there is only an external load. This is because the external load is in the linear elastic range and the hysteresis seems to be based on the slippage of the fastened part. Therefore, it can be seen that when thermal load and external load are coupled, the hysteresis loop increases due to changes in thermal strain as shown in Fig. 9.

Elastic strain behavior at SG-3 during cyclic external loading.
Next, Figure 11 shows the elastic strain at SG-3 obtained by FEM analysis. Compared to Fig. 9, the hysteresis loop is narrower than in the experimental case. However, it can be seen that the maximum strain values at 0 deg and 45 deg are roughly the same, and the trends of strain changes are also the same. In case of strain along 90 deg, there is a difference between experiment and numerical analysis in the behavior of strain near the maximum load. The difference is observed when the load decreases from the maximum value. One of the reasons for the difference is thought to be that the temperature change of the specimen is more rapid than in the analysis. Figures 12 and 13 exhibit the elastic strain behavior at SG-13 located near the fracture surface of Aluminum plate on collar side. The strain behavior is same as SG-3 located at the other side of the specimen as shown in Figs. 9 and 11.

Elastic strain behavior obtained by FEM at SG-3 during repeated loading by coupling thermal and external loads.

Elastic strain behavior at SG-13 during repeated loading by coupling thermal and external loads.

Elastic strain behavior obtained by FEM at SG-13 during repeated loading by coupling thermal and external loads.
Since it is considered that the strain trend is generally captured through the analysis, we investigate strain changes on Aluminum plates at the mating surface with CFRP, where changes in strain and stress are thought to be large for the plates. The strain and stress distributions on Aluminum plate (z = -2.28 mm in the analysis) are shown in Figs. 14 and 15, respectively. The stress and strain in the loading direction around the top row of fastener holes, which are usually the most critical for fracture, shows the highest values of approximately 600 MPa and approximately 8,000 με, when P = 47 kN and -55 degrees Celsius. Therefore, it is shown that the area around the top row fastener holes is assumed to be a critical area even in the case of hybrid joints that are subjected to repeated loads in combination with thermal loads and external loads during operation.

Elastic strain contour on Aluminum plate (z = -2.28) obtained by FEM. (P = 47 kN, -55 degrees Celsius)

Stress contour on Aluminum plate (z = -2.28) obtained by FEM. (P = 47 kN, -55 degrees Celsius)
For the Aluminum/CFRP double-lap hybrid joints that are subjected to thermal and external loads during operation, the effects of external and thermal loads on the behavior of the joints are evaluated through experiments and FEM analysis. In fatigue tests using external loads at room temperature and at the upper limit of high temperatures during type certification, fatigue failure occurred around the fastener holes in the top row of the Aluminum plates that transfer the load between the CFRP plates. This feature is same as the case for riveted joints. There is almost no gap between the Aluminum plate on the collar side and CFRP, while a gap is observed between the Aluminum plate on the manufactured head side and CFRP. For this reason, it is thought that fatigue cracks first formed and propagated in the Aluminum plate on the collar side.
Next, repeated loading is performed by coupling an external load and a thermal load. From the behavior of elastic strain, which is obtained by subtracting thermal strain from total strain, it is shown that when thermal load and external load are coupled, the hysteresis loop becomes larger compared to when only external load is repeatedly applied. Next, FEM analysis for the hybrid joint is conducted in case of repeated loads that coupled external loads and thermal loads. Based on the strain behavior at the strain gauge position, it is considered that the FEM analysis is able to evaluate the behavior of the hybrid joint. In addition, FEM analysis results show that strain and stress in the loading direction are high around the top row fastener holes, which could be a critical area for fatigue failure.
The difference between experiment and numerical analysis in the behavior of strain near the maximum load is observed and the rapid increase in temperature could be the one of the reasons. Modification of test procedure or numerical profile have to be conducted. In addition, the evaluation of the effects of fastening force and friction on strain behavior during repeated loads that coupled external loads and thermal loads are planned. In the future, we plan to conduct a fatigue life evaluation up to form fatigue crack at certain size using the SWT formula (Boller & Seeger, 2013).