The methods used to describe the relationship between load at the head and settlement of a pile have been analysed by many authors [4, 14, 16]. These works focus mostly on static load test results, which contain the set of load and corresponding settlement values obtained during the test. These sets are presented as load–settlement curves, which can be interpreted using various approaches [3, 15]. The load–settlement curves may be used in a group of piles as well [7]. It has been argued that there is need for additional instrumentation during static load tests in order to obtain additional information about soil–pile interaction [3, 4].
Several papers combine field results and theoretical calculations of the dependency of shear stress distribution along the pile skin and settlement [19]. Others [8, 14, 17] focus on laboratory-based experiments. This allows for analysis in perfect soil environments, which do not appear in field cases. As such, calculations are more precise. However, works that employ the analytical approach, however, and in particular the soil mechanics theory, in particular, are scarce.
The main topic of this paper is the formation of shear stress along the skin of the pile due to soil–pile interaction. In a previous work [12], the authors proposed a definition of shear stress as the result of soil–pile interaction due to the bending of the space of soil around the pile, which is the result of the vertical movement of the pile. Kirchhoff's principle was used as a base for the description of the mentioned mechanism [11]. This theory forms the foundation of this paper. It is used to describe the formation of shear stress while loading a pile vertically with increasing force.
The authors’ intention in this paper is to draw attention to the fact, that in each studied case there is a need to specify the boundary conditions, especially those of the skin of the pile. That is the main goal of this paper.
The model that was analysed is a pile loaded vertically, whose movement is the result of the load put at the head. It is assumed that the cross-section of the pile is circular, and that z-axis, which is the vertical axis of the coordinate system, goes along the pile symmetry axis. The pile diameter is denoted as D, while pile length in the soil is denoted as h. The authors have analysed a concrete pile, which follows the assumption that the concrete is homogeneous and isotropic.

Loaded pile scheme.
Symbols on Figure 1:
D- pile diameter [m]
h- length of the pile in the soil [m]
l- arm of bending space [m]
N1- load at the base of the pile [MN]
N2- load at the head of the pile [MN]
N(z)- axial force in the pile at z depth [MN]
τ(z)- shear stress on the pile skin at z depth [MPa]
s- settlement value of the pile [mm]
s(z)- settlement of the pile at z depth [mm]
The equations describing the dependence of shear stress and movement of the pile at z depth are based on Kirchhoff's principle as follows:
For the interior of the pile, along the axis of symmetry, the load at the head changes its value as shown below:
Another equation describes the effect of the elastic shortening of a pile, which is due to vertical load. There is:
Using the above introduced symbols, the relationship between vertical displacement, including the pile shortening effect and the shear stress on its skin is as follows:
The next assumption is that in Eq. (5), the following relationships are used:
Under this assumption, combining Eqs. (5), (3) and (4), the following linear equation is obtained:
After implementation of Eqs. (13) and (14), it follows that:
Field tests were conducted on real piles. The method of static load test provided sets of data {N;s} for different load stages. Independently, with the use of extensometers, the vertical axial force available for different stages of external load was distributed at the head of the pile N2. The equation used for the approximation for reference N2 is as follows:
The main aim of the proposed method was to check if the least squares method with Eq. (22) led to normal squared differences distribution. This would prove that the simplification given by Eqs. (7) and (17) can be applied.
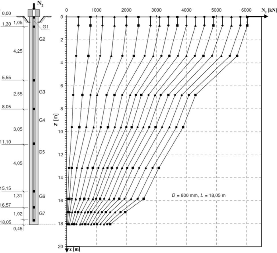
Two piles were fully analysed. Their dimensions are: diameter D=0.8m, length L=18.05 m. The piles were drilled using the CFA method. They were used as foundations for overpasses in Gdańsk on the Wysoczyzna Kaszubska territory. The soil was a mix of cohesive and non-cohesive layers.
The most important results were shear stress values. In order to measure them, one approach is to place the steel tube with the extensometers along the pile shaft. The system of extensometers was an addition to the static load test. The obtained results allowed the authors to compare the theoretical analyses they were working on, with actual results from the piles used as a functioning foundation.
Fig. 2 presents the results of a set of extensometers for one of the analysed piles:

Placement of strain gauges for Pile 1, forces graph [9].
The tables below show the main data obtained from the static load test of Pile 1 and Pile 2.
Static load test values for Pile 1.
| Dimensions | N2 [kN] | s2 [mm] | |
|---|---|---|---|
| Pile nr 1 | D=0,8 m | 6100 | 14,05 |
| 5800 | 12,29 | ||
| 5500 | 10,42 | ||
| H=18,05 m | 5200 | 9,42 | |
| 4900 | 8,28 | ||
| 4600 | 7,21 | ||
| 4300 | 6,36 | ||
| Technology: CFA | 4000 | 5,64 | |
| 3700 | 4,75 | ||
| 3400 | 4,23 | ||
| 3100 | 3,56 | ||
| 2800 | 2,83 | ||
| 2400 | 2,24 | ||
| 2000 | 1,76 | ||
| 1600 | 1,27 | ||
| 1200 | 1,12 | ||
| 800 | 0,74 |
Static load test values for Pile.
| Dimensions | N2 [kN] | s2 [mm] | |
|---|---|---|---|
| Pile nr 2 | D=0,8 m | 4800 | 25,46 |
| 4500 | 18,23 | ||
| 4200 | 13,28 | ||
| H=18,05 m | 3900 | 8,85 | |
| 3600 | 6,83 | ||
| 3300 | 5,48 | ||
| 3000 | 4,42 | ||
| Technology: CFA | 2700 | 3,6 | |
| 2400 | 2,89 | ||
| 2100 | 2,27 | ||
| 1800 | 1,69 | ||
| 1500 | 1,28 | ||
| 1200 | 0,98 | ||
| 900 | 0,7 | ||
| 600 | 0,43 | ||
| 300 | 0,2 |
For these piles, as mentioned above, we obtained the CPTu soil investigation results. The graphs are presented in Fig. 3.

Graph of CPTu investigation results for Pile 1 (left graph) and Pile 2 (right graph) [9].
The first step of the calculations was to determine if the “a” parameter should be implemented or neglected. Then, the shear stress graph was optimised based on the “a” value. The authors tried to obtain the most probable, and closest to the experiment, graph of shear stress value. Upon this step, calculations were made using the least squares methods. In this way, the “a” parameter value was optimised. It can be proved that parameter “a”, specified by Eq. (9), is a very small value in comparison to the width and length values of the pile. Assuming average conditions Es,v=10 MPa, ν=0,25, Econ=30 GPa, D=0,8 m, l≅ 3D, the value of a=0,016 [1/m].
Upon calculations for different piles, it was concluded that, for practical purposes, the influence of “a” can be neglected.
The next step was to compare the theoretical calculations of pile loads with the corresponding experimental results. Using the method shown above, for each pile, calculations of shear stress were made.
Once the set of data was obtained, a comparison was made between theoretical and experimental results. For each pile, there was normal distribution of squared differences, which proves the assumption that

Comparison of values obtained from measurements (m index) with authors’ calculations (calc index) for Pile 1, different loads.

Comparison of values obtained from measurements (m index) with authors’ calculations (calc index) for Pile 2, different loads.
The same comparison for Pile 2 is shown in Fig. 5.
In Figs. 6a and 6b we show an example of a normal distribution graph obtained with the least squares method for both analysed piles.

Least squares method for Pile 1 N2=6100 kN.

Least squares method for Pile 2 N2=2400 kN.
The least squares methods, as shown in Eq. (20), allows to optimise the value of shear stress along the skin of the pile. Examples are shown in Figs. 7a, 7b, 8a, and 8b.

Relationship between settlement and shear stress at the head of Pile 1.

Relationship between settlement and shear stress at the base of Pile 1.

Relationship between settlement and shear stress at the head of Pile 2.

Relationship between settlement and shear stress at the base of Pile 2.
At this stage, conclusions can be formulated based upon the experiments:
The experimental results prove that for practical calculations, the following simplification can be applied:
; and a→0, moreover- {{{d^2}s} \over {d{z^2}}} = 0 2. The following equations can be used for the practical estimation of the skin shear stress τ(z) and pile axis for N(z):
\matrix{{- \tau \left( z \right) = {\tau _2} - \left( {{\tau _2} - {\tau _1}} \right) \cdot {z \over h}} \hfill \cr { - N\left( z \right) = {N_2} - \pi Dh \cdot \left[ {{\tau _2} \cdot {z \over h} - \left( {{\tau _2} - {{{N_2} - {N_1}} \over {\pi Dh}}} \right) \cdot {{\left( {{z \over h}} \right)}^2}} \right]} \hfill \cr }
For a practical approach to combining field investigation data with theoretical calculations, it is essential to estimate value τ2 using soil investigations and static load tests without the need for extensometers. Kirchhoff's approach can be used for the analysis of soil reaction on pile settlement, Eqs. (1) and (2). This gives the following relationship:
The above parameters may be obtained using statistical methods and the static load test results available as {N;z}. For further analysis, it is convenient to consider the following M–K method outcome:
For
The last value which remains to be calculated is τ1, namely, shear stress at the depth of the pile base, which is a reaction on τ2(N2) pile settlement. As above, τ1 is obtained with (21).

Pile 1 values comparison; linear distribution for B2=5,28.

Pile 2 values comparison; linear distribution for B2=6,89.

Pile 1 values comparison; linear distribution for B1=0,02.

Pile 2 values comparison; linear distribution for B1=0,01.
This paper contains an interpretation of static load test results generated with extensometers to obtain the distribution of axial force along the pile shaft. The analytical part of this paper concerns a theoretical description of the mechanism of skin resistance formulation of the pile using Kirchhoff's approach by introducing the aggregate Winkler constant [12]. Two basic assumptions were made at that stage: the second derivative of settlement against depth and the actual value of a, which is very small for practical purposes, can be neglected. Both were confirmed in experimental research by obtaining the normal square difference distribution of data. The analysis of the experimental results was extended by using earlier research and incorporating the M–K method for calculating τ1, τ2 shear stress.
The experimentally obtained values were compared to theoretical graphs. In these, pile shaft resistance at the head and base of the pile are crucial.
The analytical relationships were obtained on the basis of [12] and the M–K parameters. It was found that the M-K curve parameters obtained from pile static load test results, as well as soil investigations with the CPTu method, match the values obtained by calculations in which tension values τ1 and τ2 were the starting points of consideration. This allows the assumption that the solution shown in this paper is based on skin resistance and the corresponding settlement, and may be used for practical engineering calculations. Kirchhoff's method is applied and the skin resistance arises as the result of soil displacement around the pile. The authors aim to use the experimental results further, along with other studies in the literature and more field investigation experiments in various circumstances in order to verify the proposed method. The obtained results presented in graphs and tables are showing the accuracy of obtained values measured in experimental methods. The curves show that not all the cases agree fully with the linear theoretical assumption. However, there are cases that can be discussed to explain the inaccuracies.
The proposed method of calculating skin shear stress includes a parameter, which represents the behaviour of pile settlement in real soil conditions. The M–K method is used for describing a set of {Ni;si} from static load test results, with the parameter in a way averaging soil conditions. Fig. 7a shows that when N2 reaches a certain value, the resulting τ2 tends to be constant. The experimental results suggest that that τ2(N2) reached its maximum value. The maximum value of τ2 corresponds to the possibility of overcoming the static friction conditions of the pile against the soil. How to reach maximum shear skin resistance has been presented before by other authors [1, 3, 4].
The authors would like to underline that to solve the problem of pile-soil interaction it is necessary to outline the mechanism of skin resistance formation. In this area there are no commonly accepted models of interaction as well as numerical solution that would expose the boundary conditions solved in the way accepted in solving differential equation according to Dirichlett. The authors’ main intention is to formulate the boundary condition correctly, because the numerical solution can be improved using it as the input.