Non-destructive testing (NDT) has long been employed to assess the physical condition of objects without causing damage. Initially, NDT primarily focused on evaluating the general integrity of materials and structures, with a focus on finding macro-defects of various kinds [1, 2]. Over time, the need to characterize materials in all stages of their manufacturing, as well as to analyze them after their service life in structures and mechanisms, became increasingly apparent. This led to the development of NDT methods capable of estimating the mechanical properties of materials [3-6].
Among these methods, those that measure hysteresis loop characteristics are applicable to ferromagnetic materials only. Ferromagnetic steels are widely used in engineering structures and components. Ensuring proper quality control of these materials during all stages of fabrication, as well as monitoring steel components and structures during their in-service life under operational stresses, are especially important parts of production and maintenance strategies. Ferromagnetic materials are composed of areas known as magnetic domains, separated by magnetic domain walls. During measurements of their magnetic characteristics and during the processes of magnetization, the magnetic domain walls are forced to move and interact with microstructural crystal imperfections, much like how the dislocations behave under stresses and plastic deformation. This commonality underpins the characterization of ferromagnetic steels. Investigating the new relationships between magnetic and mechanical properties is a key focus of research on NDT methods of measuring magnetic properties.
A great deal of research has been done in recent decades to identify structure-sensitive magnetic properties that reflect the material mechanical and structural state of materials. Notably, studies have focused on characterizing steel materials during and after heat treatment [7-9]. Heat treatments of steel materials provide an advantageous basis for extensive research on how magnetic characteristics depend on steel phase composition and microstructure. Another distinct area of research interest is the non-destructive evaluation of the degradation of stainless steel [10], particularly given that purely austenitic stainless steel is initially not ferromagnetic, after fabrication. In metastable stainless steel under the influence of stress, phase transformations lead to the appearance of ferromagnetic properties and the ability to apply the non-destructive method of magnetic characteristic measurements. Additionally, assessing the stressed tates of steel structures is has been a long-standing research area [11-12]. Operational loads induce stress, leading to subsequent dislocation movements that multiply in the material, interacting with magnetic domain walls and altering the magnetic characteristics of steel. The process is measureable using the proposed NDT method. Furthermore, the accumulation of micro-damage in steel structures when in service, starting with dislocation multiplication and processing to the appearance of macro-cracks, has also been extensively studied [12-13].
This article presents an NDT method for measuring magnetic characteristics in material characterization. It begins by discussing the fundamental physical principles [16-17] relevant for magnetic characteristic measurements, followed by practical measuring techniques and calibration criteria. The paper then describes various devices for these measurements, comparing laboratory and in-field instruments in terms of their advantages and disadvantages. It also contrasts magnetic circuit systems based on a permeameter, which provides magnetic characteristics in absolute values, with those based on an attachable U-shaped transducer.
As an example application for the aircraft industry, the article highlights the use of the coercive force measurement technique to assess the condition of the steel material in gas containers used in aircraft after extended in-service life. The landing gear, composed of ferromagnetic steel and subjected to significant shock loads, is another critical component where this method proves valuable.
The method presented here is based on a correlation between measured magnetic characteristics and the tested mechanical property or condition. Any noticeable change in the steel microstructure on the lowest level results in an appropriate change in magnetic parameters.
The chemical composition of steel, including the elements it contains and their quantities, is the basis for its potential internal structure and as a result its mechanical properties. Different microstructures can form based on the production process and subsequent treatments (mechanical treatment, heat treatment, thermo-mechanical treatment, etc.). Mechanically, steel material consists of grains of various phases, which collectively constitute the microstructure that determines the steel’s properties. The macro and microstructure of steel, along with the corresponding set of mechanical properties, can be altered through different heat treatments, including annealing, quenching and tempering. Additionally, defects such as vacancies, dislocations, non-metallic inclusions, impurities, etc., play a significant role in influencing mechanical properties.
From a magnetic point of view, steel material is divided into regions known as magnetic domains, which are separated by magnetic domain walls. The division is determined by the steel’s microstructure; however, the magnetic domains do not directly correspond to steel grains. Measuring magnetic characteristics involves magnetic domains and moving magnetic domain walls. During this movement, magnetic walls interact with various kinds of defects. The type and their density of these defects influence the ease with which the magnetic domain walls move and the domains rotate, thereby affecting the magnetic characteristics. The addition of other non-magnetic elements to steel (e.g., carbon) increases the hysteresis loss and coercive force. Thus, any “imperfections” such as dislocations or impurity elements, increase the energy loss during the magnetization process and elevate hysteresis and related parameters [16].
All basic magnetic characteristics are typically presented on a diagram known as the main magnetization curve and a magnetic hysteresis loop. The coercive force (Hc) is half of the width of the hysteresis loop along the magnetizing force axis. This coercive force is significantly sensitive to structural changes in steel materials. Other magnetic properties that can be derived from the hysteresis loop (remanence Br, initial permeability μi, saturation magnetization HS, and saturation magnetic induction BS) are also structure-sensitive and can be applied in NDT [11] (Fig. 1).

The main magnetization, the magnetic hysteresis loop, and the related magnetic characteristics [11]
As an example, Fig. 2 represents the typical changes in magnetic hysteresis loop for a steel specimen subjected to cold working (hardening), when the coercive force as well as hysteresis loss (hysteresis loop area) increase.

The hysteresis loop changes for steel subjected to cold working or caused by the non-magnetic addition: soft (1) and hardened (2) steels [11]
A wide variety of instruments exist for measuring magnetic characteristics, which can be categorized based on their primary purpose into two categories: laboratory and in-field devices. Laboratory instruments are used for general physics tasks and primarily aim for high accuracy and precision. To take measurements with this kind of instrument metal specimens must be of a fixed size and should be cut off from a larger metal piece. In its turn, the focus of in-field devices is on the measurements of large-size metal structures. The accuracy and precision of the results from in-field devices are lower in comparison to that from the laboratory instruments but in-field devices do not require cutting off specimens from the metal structures, making them suitable for the tasks of non-destructive testing (NDT).
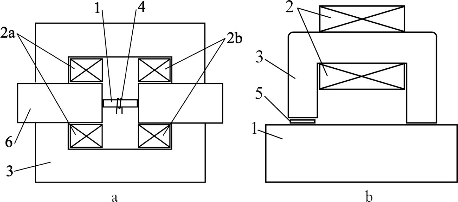
Magnetic measurement systems are also of two main types, based on the magnetic circuit configuration: closed or open magnetic circuits. In a closed magnetic circuit, the vast majority of the magnetic flux used for measurements passes through the ferromagnetic material (for reducing losses due to stray fields). The most commonly used magnetic measurement system for laboratory measurements is based on a permeameter (Fig. 3a). In this system, the cross-section of the magnetic circuit (3,6) is comparatively larger than that of the tested object (1). Another system, based on an attachable U-shaped magnetic core, is presented in Fig. 3b. Here, the cross-section of the U-shaped core may be smaller than that of the tested object.

Magnetic measurement system schemes, based on a) permeameter; b) attachable transducer: 1 – the tested object; 2 – magnetizing coil; 3 – yoke of the magnetic circuit; 4 – winding on the tested object for magnetic flux measurement; 5 – magnetic flux density sensor; 6 – movable pole of magnetic circuit.
The primary advantage of using a permeameter is the highest accuracy and the ability to obtain absolute values of magnetic characteristics. These values are calculated from the electric current in the magnetizing coil (2) and voltage signal from the winding (4) on the tested object (1). The results taken from an attachable U-shaped core must be calibrated on equal size specimens with magnetic characteristics known beforehand, which could be obtained using a permeameter. The accuracy and precision of the measurements taken using an attachable U-shaped core are obviously lower than those for a permeameter, but the main advantage of the former is the ability to take readings on large-scale steel parts and structures without having to cut off small pieces of material to put inside the permeameter.
For non-destructive testing, a common approach involves identifying the most sensitive magnetic characteristic during the research phase, and then developing a specialized device for measuring this characteristic in the most efficient and optimized way. A prime example of such a device is the coercive force meter, with an attachable U-shaped core transducer.
Drawing on extensive experience in evaluating magnetic loop characteristics, the MA-05 magnetic analyzer (Fig. 4a) was developed by Special Scientific Engineering Company. The control software for this analyzer can run on any PC and allows different magnetizing modes to be set (minimum and maximum magnetizing force, curve detailing, delays before magnetic characteristics probing, etc.). The magnetic analyzer works with U-shaped transducers of specified sizes and also with a permeameter. The results of measurements of the magnetic analyzer are presented in the form of the main magnetizing curve as well as the hysteresis loop (Fig. 4b). Additionally, a graph of magnetic permeability is derived from the main magnetizing curve. The analyzer calculates the most frequent steel magnetic characteristics: coercive force, residual induction, maximum induction, maximum magnetizing force, maximum magnetic permeability, and magnetizing force corresponding to maximum permeability and loop area.

Magnetic Analyzer of type MA-05: a) general view of electronic unit with PC screen; b) an example of measurement results as hysteresis loop with calculated magnetic characteristics
For most applications, a single magnetic parameter (coercive force) is enough for NDT inspection. To meet this need, the KRM-Ts coercive force meter (Fig. 5) was also developed (Special Scientific Engineering Company). The KRM-Ts is designed for local inspection of ferromagnetic steel components and large-scale structures. This portable, lightweight, battery-operated electronic instrument includes an attachable U-shaped magnetic transducer. The possible temperature range for the tested object is -40°C to 300°C, with maximum dielectric protecting coating up to 6 mm for a standard-size transducer. Coercive force values measured range from 1.0 A/cm to 40.0 A/cm, which is sufficient for most constructional carbon steels and alloy steels. The relative error is no more than 5%. The time of one measurement circle is no more than 6 seconds.

The KRM-Ts coercive force meter with attachable U-shaped core magnetic transducer and two calibration specimens of known coercive force
The standard attachable type transducer is optimally sized for the vast majority of NDT applications. Its active area is 60×30 mm, resulting in average penetration depth of 20 mm. The transducer of this size provides an integral coercive force value that represents the entire volume of material 60×30×20 mm. When another material penetration depth is required, transducers with different active areas are possible, ranging from 1 mm up to 100 mm. Three attachable magnetic transducers of different size are presented in Fig. 6.

Attachable magnetic transducers for KRM-Ts type coercive force meter
For tested objects with complex shapes and not-flat surfaces, customized pole tips are produced. These tips are installed on the poles of the transducer to better match the shape of the tested object and to increase the accuracy of coercive force readings.
The proposed non-destructive testing method for assessing metal mechanical properties is applicable to ferromagnetic materials only. This limitation is particularly relevant in the aircraft industry, where the specific weight of the material has the highest priority. Nevertheless, some gas containers (Fig. 7) used in the aircraft industry for storing oxygen, air or freon were investigated as promising objects for in-service evaluation of damage accumulation by means of magnetic coercive force characteristic measurements.

Spherical and cylindrical gas containers of aircraft selected for NDT inspection
Four kinds of containers were included in the study (three pieces of each kind): 1 – cylindrical oxygen containers made of 40HMA steel, with capacity 4.0 liters, outer diameter 140 mm, wall thickness 2.5 mm; 2 – three-section spherical oxygen containers made of 40HA steel, with capacity 2.0 liters, outer diameter 112 mm, wall thickness 1.9 mm; 3 – three-section spherical air containers made 40HA steel, with capacity 2.0 liters, outer diameter 112 mm, wall thickness 1.9 mm; 4 – welded spherical freon containers made of 30HGSA steel, with capacity 2.0 liters, outer diameter 155 mm, wall thickness 2.0 mm. All twelve containers had been in use for more than 40 years. The NDT procedure, based on coercive force measurements, was employed to assess the level of microstructural degradation and microdamage accumulation due to various operational factors (static and dynamic loads, temperature, etc.).
The principle of the coercive force measurement NDT technique is based on the continuous increase in the coercive force over the lifetime of the steel material, due to the process of microdamage accumulation: dislocations and micro defects starting on a low crystal level. This process proceeds long before macro cracks appear and the steel object fails. Every brand of steel has its own coercive force value, Hc0, representing new material just after production, as well as a value HcB representing the so-called pre-destruction state with the highest micro-damage level. HcB is usually more than 100% higher than Hc0. For some brands of steel, this difference can be even greater, up to 400%. Knowing the range of coercive forces for a given material and obtaining results from a tested object, we can therefore assess the condition of the material by observing how far the current state is from the initial state Hc0 and how close it is to the pre-destruction state HcB. For example, for 40HMA steel, the coercive force of the initial state (Hc0) is 9 A/cm and the coercive force for the pre-destruction state (HcB) is 22 A/cm.
Because the process of material degradation does not take place locally, there is no need to scan all surfaces. For oxygen and air containers, twelve points are sufficient in three cross sections, with four points per cross section (Fig. 8a). The goal is to find the highest coercive force Hc value representing the highest level of material degradation. The resulting diagram is based on the maximum values of coercive force for every cross-section.

The scheme of measurements and results obtained: a) measuring points diagram; b) resulting coercive force distribution along the container length
Fig. 8b demonstrates the condition of three oxygen containers along their length. The red line above marks the highest possible coercive force for 40HMA steel. The blue line represents the oxygen container with a comparatively higher level of material degradation. The two other lines show an almost equal state approximately in the middle of the coercive force range. The state of all three containers, however, remains at a safe distance from the pre-destruction zone.
Table 1 summarizes the results of coercive force measurements for all twelve containers. It includes the average, minimum, and maximum coercive force values, as well as the difference between maximum and minimum in absolute A/cm and percentage units. Average and maximum values represent how far is the whole container is from possible damage, in terms of the distance from the pre-destruction coercive force value (HcB). The lower that value, the longer the remaining lifetime of the tested object. The difference shows the homogeneity level of the material throughout whole the object. Periodical monitoring of those parameters lets us see how the material works through its lifetime and predict future failures.
| Container | Material | HcB | Average Hc | Min Hc | Max Hc | Difference | Difference |
|---|---|---|---|---|---|---|---|
| type | A/cm | A/cm | A/cm | A/cm | A/cm | % | |
| 1 | 40HMA | 22 | 17.8 | 16.3 | 18.8 | 2.5 | 13 |
| 40HMA | 22 | 15.8 | 14.5 | 16.9 | 2.4 | 14 | |
| 40HMA | 22 | 15.7 | 14.3 | 16.5 | 2.2 | 13 | |
| 2 | 40HA | 20 | 14.6 | 14.2 | 15.3 | 1.1 | 7 |
| 40HA | 20 | 15.1 | 14.6 | 16 | 1.4 | 9 | |
| 40HA | 20 | 14.8 | 13.7 | 15.7 | 2 | 13 | |
| 3 | 40HA | 20 | 13.5 | 12.8 | 15 | 2.2 | 15 |
| 40HA | 20 | 14.7 | 13.8 | 15.7 | 1.9 | 12 | |
| 40HA | 20 | 14.2 | 13.5 | 14.8 | 1.3 | 9 | |
| 4 | 30HGSA | 24 | 18.5 | 18.1 | 18.9 | 0.8 | 4 |
| 30HGSA | 24 | 18.5 | 18 | 18.9 | 0.9 | 5 | |
| 30HGSA | 24 | 19.1 | 18.8 | 19.5 | 0.7 | 4 |
The presented results were used in the development of inspection procedures.
Another significant application of the presented technique is in testing ferromagnetic steel components of aircraft landing gear non-destructively. Various steel components within this assembly endure significant shock loads, leading to material degradation through fatigue mechanisms. This degradation involves the accumulation of microdamage, which can be assessed through hysteresis loop characteristics measurements using attachable magnetic transducers.
This article examines the application of non-destructive testing (NDT) methods for assessing the mechanical properties of ferromagnetic materials, particularly in steel components used in engineering structures and aircraft. It elucidates the correlation between magnetic characteristics and mechanical properties, emphasizing the impact of microstructural imperfections on magnetic domain walls. The study categorizes devices utilized in NDT techniques for measuring magnetic characteristics and profiles two instruments as examples: the MA-05 magnetic analyzer and KRM-Ts coercive force meter (a magnetic analyzer and a coercive force meter), which offer precise measurements in both closed and open magnetic circuits.
Through a case study involving 12 gas containers in aircraft, the article demonstrates the effectiveness of this method in evaluating damage accumulation. Further exploration into potential applications in aircraft landing gear components is identified as a promising avenue for future research.